一、玻璃電極的特點
玻璃電極只與溶液中氫離子濃度即pH有關,其特點如下:
高阻抗膜電極,內阻在幾十至幾百兆歐之間;
具有氫功能;
準確性和穩定性好,響應快;
測定范圍寬。
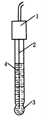
二、玻璃電極的構造
玻璃電極由電極球泡、電極支持管、內參比電極、內部溶液和電極導線組成,其結構示意圖如下:

1—絕緣套;2—Ag-AgCl電極;3—玻璃膜;4—內部緩沖液
三、玻璃電極使用注意事項
使用前要浸泡至少24小時;
輕拿輕放,注意別碰破球袍;
不用時可浸泡在蒸餾水或0.1mol/L鹽酸溶液中;
應存放干燥處,保持電極插頭絕緣部分清潔干燥。
四、玻璃電極插頭的清洗

五、相關閱讀

